在分布式系统中,各系统同步访问共同的资源是很常见的。因此我们常常需要协调他们的动作。 如果不同的系统或是同一个系统的不同主机之间共享了一个或一组资源,那么访问这些资源的时候,往往需要互斥来防止彼此干扰来保证一致性,在这种情况下,便需要使用到分布式锁。
一个好的分布式锁常常需要以下特性:
- 可重入
- 同一时间点,只有一个线程持有锁
- 容错性, 当锁节点宕机时, 能及时释放锁
- 高性能
- 无单点问题

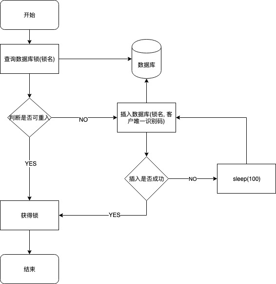
一. 基于数据库的分布式锁
基于数据库的分布式锁, 常用的一种方式是使用表的唯一约束特性。当往数据库中成功插入一条数据时, 代表只获取到锁。将这条数据从数据库中删除,则释放送。
因此需要创建一张锁表
1
2
3
4
5
6
7
8
9
CREATE TABLE `methodLock` (
`id` int(11) NOT NULL AUTO_INCREMENT COMMENT '主键',
`method_name` varchar(64) NOT NULL DEFAULT '' COMMENT '锁定的方法名',
`cust_id` varchar(1024) NOT NULL DEFAULT '客户端唯一编码',
`update_time` timestamp NOT NULL DEFAULT CURRENT_TIMESTAMP ON UPDATE CURRENT_TIMESTAMP COMMENT '保存数据时间,自动生成',
PRIMARY KEY (`id`),
UNIQUE KEY `uidx_method_name` (`method_name `) USING BTREE
)
ENGINE=InnoDB DEFAULT CHARSET=utf8 COMMENT='锁定中的方法';
添加锁
1
insert into methodLock(method_name,cust_id) values (‘method_name’,‘cust_id’)
这里cust_id 可以是机器的mac地址+线程编号, 确保一个线程只有唯一的一个编号。通过这个编号, 可以有效的判断是否为锁的创建者,从而进行锁的释放以及重入锁判断
释放锁
1
delete from methodLock where method_name ='method_name' and cust_id = 'cust_id'
重入锁判断
1
select 1 from methodLock where method_name ='method_name' and cust_id = 'cust_id'
加锁以及释放锁的代码示例
1
2
3
4
5
6
7
8
9
10
11
12
13
14
15
16
17
18
19
20
21
22
23
24
25
26
27
28
29
30
31
/**
* 获取锁
*/
public boolean lock(String methodName){
boolean success = false;
//获取客户唯一识别码,例如:mac+线程信息
String custId = getCustId();
try{
//添加锁
success = insertLock(methodName, custId);
} catch(Exception e) {
//如添加失败
}
return success;
}
/**
* 释放锁
*/
public boolean unlock(String methodName) {
boolean success = false;
//获取客户唯一识别码,例如:mac+线程信息
String custId = getCustId();
try{
//添加锁
success = deleteLock(methodName, custId);
} catch(Exception e) {
//如添加失败
}
return success;
}
完整流程
1
2
3
4
5
6
7
8
9
10
11
12
13
14
15
16
17
18
public void test() {
String methodName = "methodName";
//判断是否重入锁
if (!checkReentrantLock(methodName)) {
//非重入锁
while (!lock(methodName)) {
//获取锁失败, 则阻塞至获取锁
try{
Thread.sleep(100)
} catch(Exception e) {
}
}
}
//TODO 业务处理
//释放锁
unlock(methodName);
}
以上代码还存在一些问题:
- 没有失效时间。 解决方案:设置一个定时处理, 定期清理过期锁
- 单点问题。 解决方案: 弄几个备份数据库,数据库之前双向同步,一旦挂掉快速切换到备库上
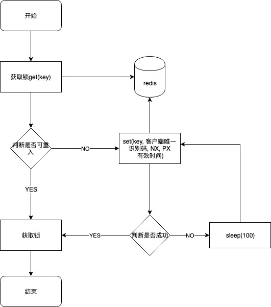
二. 基于redis的分布式锁
使用redis 的set(String key, String value, String nxxx, String expx, int time)命令
- 第一个为key,我们使用key来当锁,因为key是唯一的。
- 第二个为value,我们传的是custId,这里cust_id 可以是机器的mac地址+线程编号, 确保一个线程只有唯一的一个编号。通过这个编号, 可以有效的判断是否为锁的创建者,从而进行锁的释放以及重入锁判断
- 第三个为nxxx,这个参数我们填的是NX,意思是SET IF NOT EXIST,即当key不存在时,我们进行set操作;若key已经存在,则不做任何操作
- 第四个为expx,这个参数我们传的是PX,意思是我们要给这个key加一个过期的设置,具体时间由第五个参数决定。
- 第五个为time,与第四个参数相呼应,代表key的过期时间。
代码示例
1
2
3
4
5
6
7
8
9
10
11
12
13
14
15
16
17
18
19
20
21
22
23
24
25
26
27
28
29
30
31
32
33
34
35
36
37
38
39
40
41
42
43
44
45
46
47
48
49
50
51
52
53
54
55
56
57
58
59
60
private static final String LOCK_SUCCESS = "OK";
private static final String SET_IF_NOT_EXIST = "NX";
private static final String SET_WITH_EXPIRE_TIME = "PX";
private static final Long RELEASE_SUCCESS = 1L;
// Redis客户端
private Jedis jedis;
/**
* 尝试获取分布式锁
* @param lockKey 锁
* @param expireTime 超期时间
* @return 是否获取成功
*/
public boolean lock(String lockKey, int expireTime) {
//获取客户唯一识别码,例如:mac+线程信息
String custId = getCustId();
String result = jedis.set(lockKey, custId, SET_IF_NOT_EXIST, SET_WITH_EXPIRE_TIME, expireTime);
if (LOCK_SUCCESS.equals(result)) {
return true;
}
return false;
}
/**
* 释放分布式锁
* @param lockKey 锁
* @param requestId 请求标识
* @return 是否释放成功
*/
public boolean unlock(String lockKey,) {
//获取客户唯一识别码,例如:mac+线程信息
String custId = getCustId();
String script = "if redis.call('get', KEYS[1]) == ARGV[1] then return redis.call('del', KEYS[1]) else return 0 end";
Object result = jedis.eval(script, Collections.singletonList(lockKey), Collections.singletonList(custId));
if (RELEASE_SUCCESS.equals(result)) {
return true;
}
return false;
}
/**
* 获取锁信息
* @param lockKey 锁
* @return 是否重入锁
*/
public boolean checkReentrantLock(String lockKey){
//获取客户唯一识别码,例如:mac+线程信息
String custId = getCustId();
//获取当前锁的客户唯一表示码
String currentCustId = redis.get(lockKey);
if (custId.equals(currentCustId)) {
return true;
}
return false;
}
完整流程
1
2
3
4
5
6
7
8
9
10
11
12
13
14
15
16
17
18
public void test() {
String lockKey = "lockKey";
//判断是否重入锁
if (!checkReentrantLock(lockKey)) {
//非重入锁
while (!lock(lockKey)) {
//获取锁失败, 则阻塞至获取锁
try{
Thread.sleep(100)
} catch(Exception e) {
}
}
}
//TODO 业务处理
//释放锁
unlock(lockKey);
}
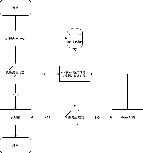
三. 基于memcached的分布式锁

memcached的实现方式和redis类似, 使用的是命令add(key, value, expireDate),注:仅当缓存中不存在键时,才会添加成功
- 第一个为key,我们使用key来当锁,因为key是唯一的。
- 第二个为value,我们传的是custId,这里cust_id
- 第三个为expireDate, 设置一个过期时间,比如: new Date(1000*10),则表示十秒之后从Memcached内存缓存中删除)。
代码示例
1
2
3
4
5
6
7
8
9
10
11
12
13
14
15
16
17
18
19
20
21
22
23
24
25
26
27
28
29
30
31
32
33
34
35
36
37
38
39
40
41
42
43
44
45
46
47
48
49
50
51
52
53
54
55
56
57
58
59
60
// Redis客户端
private MemCachedClient memCachedClient;
/**
* 尝试获取分布式锁
* @param lockKey 锁
* @param expireTime 超期时间
* @return 是否获取成功
*/
public boolean lock(String lockKey, Date expireDate) {
//获取客户唯一识别码,例如:mac+线程信息
String custId = getCustId();
Boolean result = false;
try {
result = memCachedClient.add(lockKey, custId,expireDate);
} catch(Excetion e) {
}
return result;
}
/**
* 释放分布式锁
* @param lockKey 锁
* @param requestId 请求标识
* @return 是否释放成功
*/
public boolean unlock(String lockKey,) {
//获取客户唯一识别码,例如:mac+线程信息
//获取客户唯一识别码,例如:mac+线程信息
String custId = getCustId();
Boolean result = false;
try {
String currentCustId = memCachedClient.get(lockKey);
if (custId.equals(currentCustId)) {
result = memCachedClient.delete(lockKey, custId,expireDate);
}
} catch(Excetion e) {
}
return result;
}
/**
* 获取锁信息
* @param lockKey 锁
* @return 是否重入锁
*/
public boolean checkReentrantLock(String lockKey){
//获取客户唯一识别码,例如:mac+线程信息
String custId = getCustId();
//获取当前锁的客户唯一表示码
try {
String currentCustId = memCachedClient.get(lockKey);
if (custId.equals(currentCustId)) {
return true;
}
} catch(Excetion e) {
}
return false;
}
完整流程
1
2
3
4
5
6
7
8
9
10
11
12
13
14
15
16
17
18
public void test() {
String lockKey = "lockKey";
//判断是否重入锁
if (!checkReentrantLock(lockKey)) {
//非重入锁
while (!lock(lockKey)) {
//获取锁失败, 则阻塞至获取锁
try{
Thread.sleep(100)
} catch(Exception e) {
}
}
}
//TODO 业务处理
//释放锁
unlock(lockKey);
}
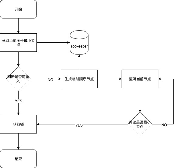
四. 基于zookeeper的分布式锁

基于zookeeper临时有序节点可以实现的分布式锁。 大致思想即为:每个客户端对某个方法加锁时,在zookeeper上的与该方法对应的指定节点的目录下,生成一个唯一的瞬时有序节点。 判断是否获取锁的方式很简单,只需要判断有序节点中序号最小的一个。 当释放锁的时候,只需将这个瞬时节点删除即可。同时,其可以避免服务宕机导致的锁无法释放,而产生的死锁问题。
可以直接使用zookeeper第三方库Curator客户端,这个客户端中封装了一个可重入的锁服务。
完整流程
1
2
3
4
5
6
7
8
9
10
11
12
13
14
15
16
17
18
19
20
public void test() {
//Curator提供的InterProcessMutex是分布式锁的实现。通过acquire获得锁,并提供超时机制,release方法用于释放锁。
InterProcessMutex lock = new InterProcessMutex(client, ZK_LOCK_PATH);
try {
//获取锁
if (lock.acquire(10 * 1000, TimeUnit.SECONDS)) {
//TODO 业务处理
}
} catch (Exception e) {
e.printStackTrace();
} finally {
try {
//释放锁
lock.release();
} catch (Exception e) {
e.printStackTrace();
}
}
}